CUSTOM WELDED BLADES
100% SATISFACTION GUARANTEE
SAME-DAY SHIPPING BEFORE 3PM CST

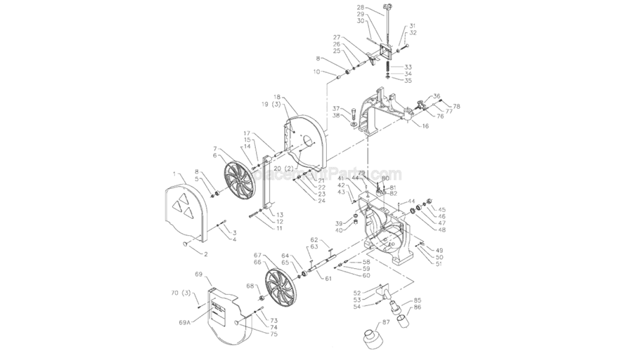
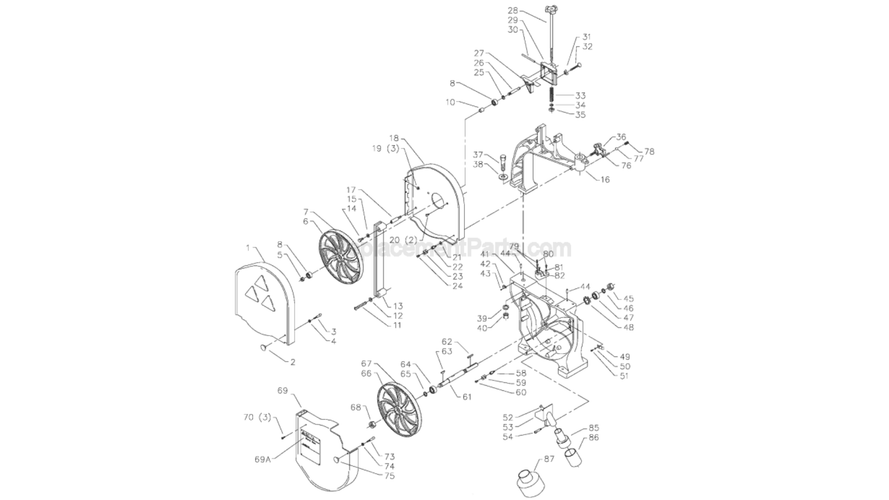
Delta 28-209 TYPE 1

Delta 28-209 TYPE 1
28-209 TYPE 1

28-209 TYPE 1

Roll over image to zoom in
28-209 TYPE 1
Delta 14” R – 360 Video Demo for this Delta 14” R Roller Guide Upgrade Kit for your band saw
Delta 28-209 TYPE 1
Delta 14” Pro – 360 Video Demo for this Delta 14” Pro Roller Guide Upgrade Kit for your band saw

Delta 28-209 TYPE 1 Woodworking Bandsaw

The Delta 28-209 Type 1 14″ Bandsaw delivers power, precision, and durability for serious woodworkers. With a 3/4 HP motor, 14″ throat, and cast-iron build, it handles detailed cuts and resawing with ease. Features include quick blade tensioning, a 4″ dust port, and a sturdy open stand—perfect for pros and dedicated DIYers.

View Spec

MAIN FEATURES

  • 14" Cutting Capacity: Offers a full 14-inch throat width and up to 6 inches of cutting height—perfect for resawing panels, ripping boards, and detailed curved cuts.

  • Robust 3/4 HP Motor: Delivers smooth, consistent performance for cutting hardwoods, softwoods, and composite materials without stalling.

  • Quick Blade-Tension Mechanism: Enables fast and accurate blade changes, reducing downtime and improving overall productivity.

  • 16" x 16" Cast-Iron Table: Precision-ground table surface provides stability and support for straight or angled cuts with minimal vibration.

  • 4" Dust Collection Port: Large dust outlet efficiently channels sawdust away, keeping your workspace cleaner and improving visibility while cutting.

  • Blade Compatibility: Accepts 93.5" blades ranging from 1/8" to 3/4" wide—ideal for everything from intricate scrollwork to medium resawing.

  • Durable Open-Stand Design: Heavy-duty steel frame and cast-iron components ensure durability, stability, and reduced vibration during operation.

  • Easy Adjustments: User-friendly tracking and guide adjustments help maintain precise blade alignment and longer blade life.

  • Balanced for Smooth Operation: Dynamic-balanced wheels ensure quiet running and consistent cutting accuracy over long work sessions.

  • Versatile Application: Perfect for furniture making, cabinetry, turning blanks, and hobby woodworking.

COMMON QUESTIONS

It offers a 14-inch throat, allowing you to cut material up to 14 inches wide between the blade and frame.

The maximum cutting height is approximately 6 inches, suitable for medium resawing and larger stock.

It comes equipped with a 3/4 HP motor, offering reliable cutting performance for most woodworking applications.

The precision-ground table measures 16" x 16", providing excellent workpiece support.

Yes, a 4-inch dust port is built in to improve dust extraction efficiency.

It uses a standard 93.5" blade—common to most Delta 14" bandsaws.

It supports blades from 1/8" to 3/4" wide for various types of cutting tasks.

Yes, with the right blade installed, it can handle plastics and light non-ferrous metals.

Yes, it typically comes with a durable open-stand design, ensuring stability during operation.

Approximately 250 lbs—providing solid, vibration-free operation.

Yes, the quick blade-tensioning feature makes blade changes fast and simple.

Yes, upper and lower blade guides can be adjusted easily for precision control.

It runs on standard 115/230V single-phase power, making it compatible with most workshop setups.

Yes, the Delta 28-209 can typically accept a 6" riser block to increase resaw capacity up to 12".

Ideal for cabinetry, furniture making, craft projects, and general woodworking applications.

SPECIFICATIONS

Blade Length inches93.5"
Min/Max Blade Width1/8" to 3/4"
Machine TypeWood
Cutting Capacity (Throat)14 inches
Maximum Cutting Height6 inches
Motor Power3/4 HP
Voltage115/230V
Table Size16" x 16"
Dust Port Size4 inches
Weight250 lbs
ConstructionCast-iron table, open stand
Delta 14” R – 360 Video Demo for this Delta 14” R Roller Guide Upgrade Kit for your band saw
Play icon
Category Video, Guides, Wood

Delta 14” R – 360 Video Demo for this Delta 14” R Roller Guide Upgrade Kit for your band saw

Optimize Your Delta 14” Bandsaw with the Black Iron Roller Guide Upgrade Kit [DLT14R] The Black Iron Roller Guide Upgrade Kit, part of the well-regarded Black Iron Guide Kits lineup, is engineered to improve the overall performance of your Delta 14” bandsaw. By upgrading, you’ll gain straighter cuts, more accurate results, and longer blade life—essentials for both professional shops and hobbyist woodworkers. This 360 Video Demo gives you a complete view of the setup, detailing the upper guides, lower guides, mounting brackets, and studs, so you can see exactly how each piece contributes to precision and durability. Crafted from high-grade aluminum and utilizing sealed roller bearings, the guide kit provides excellent durability, smoother blade tracking, and reduced vibration for consistent cutting. Designed to work seamlessly with Carbon Bandsaw Blades, it ensures reliability and clean r...

View More
Related Videos
Delta 14” Pro – 360 Video Demo for this Delta 14” Pro Roller Guide Upgrade Kit for your band saw
Play icon

Delta 14” Pro – 360 Video Demo for this Delta 14” Pro Roller Guide Upgrade Kit for your band saw

Customer Testimonial: Why Qsaw 101 Flex Back Band Saw Blades Are a Woodworker’s Best Choice
Play icon

Customer Testimonial: Why Qsaw 101 Flex Back Band Saw Blades Are a Woodworker’s Best Choice

Introducing the Q101 Flex Back Carbon Band Saw Blade – Built for Precision Wood Cutting
Play icon

Introducing the Q101 Flex Back Carbon Band Saw Blade – Built for Precision Wood Cutting

Customer Testimonial: Why Woodworkers Trust Sawblade.com’s Q201 Hard Back Carbon Band Saw Blades
Play icon

Customer Testimonial: Why Woodworkers Trust Sawblade.com’s Q201 Hard Back Carbon Band Saw Blades

Customer Testimonial: Precision You Can Trust – Qsaw 201 Hard Back Carbon Blade
Play icon

Customer Testimonial: Precision You Can Trust – Qsaw 201 Hard Back Carbon Blade

Customer Testimonial: Growler Domectics
Play icon

Customer Testimonial: Growler Domectics

Image not available

Qsaw 101 & 201 Carbon Band Saw Blades – Flex Back & Hard Back Series

This document details Qsaw’s 101 Flex Back and 201 Hard Back carbon band saw blades. The 101 Flex...

View More
Image not available

Wood Blade Selection Guide – Choosing the Right Bandsaw Blade

This guide from Sawblade.com outlines the best bandsaw blade choices for woodworking tasks, inclu...

View More
Image not available

Blade Width vs. Minimum Cutting Radius – Quick Reference Guide

This reference chart helps woodworkers select the right bandsaw blade width for specific curve si...

View More
Image not available

Bandsaw Guide Kits Overview – Precision Upgrades by Black Iron Parts

This overview explains how Black Iron Parts, distributed by Sawblade.com, enhances bandsaw perfor...

View More

Customer reviews

0 out of 5

global ratings

5 star
0%
4 star
0%
3 star
0%
2 star
0%
1 star
0%
Review this product

Share your thoughts with other customers

No reviews available